CLK擴散式旋風除塵器
- 【廣綠】CLK擴散式旋風除塵器CLK擴散式旋風除塵器,適用于捕集干燥的非纖維性的顆粒狀粉塵,主要特點是筒身呈倒圓錐形,因而減少了含塵氣體自筒身中心短路到出口去的可能性,并裝有圓錐形的反射屏,防止兩次氣......
- 咨詢熱線:15720490226
-
產品詳情
【廣綠】CLK擴散式旋風除塵器
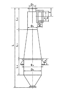
CLK擴散式旋風除塵器,適用于捕集干燥的非纖維性的顆粒狀粉塵,主要特點是筒身呈倒圓錐形,因而減少了含塵氣體自筒身中心短路到出口去的可能性,并裝有圓錐形的反射屏,防止兩次氣流將已經分離下來的粉塵重新卷起,被上升氣流帶出,因而提高了除塵效率。適用于冶金、鑄造、建材、化工糧食、水泥等行業中,捕集干燥的非纖維性顆粒狀粉塵和煙塵除塵,可做回收物料設備使用。
CLK擴散式旋風除塵器是利用旋轉氣流所產生的離心力將塵粒從含塵氣體中分離出來的除塵裝置。它具有結構簡單、體積較小、操作方便、不受含塵氣體的濃度和溫度限制、性能穩定不需維護、使用壽命長等優點,適用于凈化大于5~15微米的非粘性、非纖維的顆粒粉塵,除塵效率可達80%。旋風除塵器多用于與其它除塵設備配合使用,也可單獨使用。
工作原理:
含塵氣體從進氣口進入后,沿器壁以螺旋狀由上而下向底部圓錐體運動,形成下降的外旋氣流,在強烈旋轉過程中所產生的離心力將密度遠遠大于氣體的塵粒甩向器壁,塵粒一旦與器壁接觸,便失去慣性而靠入口速度的動量和自身的重力沿壁面下落進入集灰斗。旋轉下降的外旋氣流在到達圓錐體時,因圓錐形的收縮而向除塵器中心靠攏。根據旋矩不變原理,其切向速度不斷提高,粉塵粒子所受離心力也不斷加強。當氣流到達圓錐體下端某一位置時,即以同樣的旋轉方向沿除塵器的軸心部位轉而向上,形成上升的內旋氣流,并由除塵器的排氣管排出。
主要特點:
1.筒身呈倒圓錐形,逐漸增大自錐體壁至錐體中心的距離,減小了含塵氣體由錐體中心短路到排氣管的可能性。
2.裝有倒圓錐形的反射屏,使已經被分離的粉塵沿著錐體與反射屏之間的環縫落入灰斗,以防止二次氣流將已分離下來的粉塵重新卷起,被上升氣流帶出,因而提高了除塵效率。
技術性能
| 型號規格 | 進口風速(M/S) | 處理風量(m2/h) | 阻力(Pa) | 效率(%) | 外型尺寸(mm) | 重量(kg) |
| CLK-ф150 | 10-20 | 210-420 | 100 | 95 | 380×1210 | 33 |
| CLK-ф200 | 370-735 | 466×1916 | 52 | |||
| CLK-ф250 | 595-1190 | 566×2039 | 75 | |||
| CLK-ф300 | 840-1680 | 631×2447 | 103 | |||
| CLK-ф350 | 1130-2270 | 716×2866 | 143 | |||
| CLK-ф400 | 1500-3000 | 808×3277 | 225 | |||
| CLK-ф450 | 1900-3800 | 893×3695 | 279 | |||
| CLK-ф500 | 2320-4650 | 983×4106 | 347 | |||
| CLK-ф600 | 3370-6750 | 1150×4934 | 612 | |||
| CLK-ф700 | 4600-9200 | 1325×5176 | 819 |
上一篇:SC-A4-XP系列旋風除塵器
下一篇:TXP型陶瓷旋風除塵器





